logo for company that makes displacement sensors, string pots, and air data products (pitot static)
The Miniature, Rugged Alternative to LVDTs and Linear Potentiometers
OrderAboutSite Map
Home Position Transducers Air Data Products Newsletter Support Special Offers Contact Us Business Information

RoundAboutTM Cable Guide for Flexible Cable Alignment

The patented RoundAboutTM cable guide gives users unparalleled flexibility in attaching draw wire transducers to their applications.
RoundAboutTM cable guide
The patented RoundAbout™ cable guide allows users to mount draw wire transducers with unparalleled flexibility. (high-resolution graphic)

News Release

RoundAbout™ Cable Guide Eliminates Cable Alignment Hassles

Device Allows Dynamic Cable Re-Orientation for Draw Wire Transducers

PALMDALE, CALIFORNIA USA -- The patented RoundAbout™ cable guide gives draw wire transducers unparalleled flexibility in connecting the displacement cable (draw wire) to applications. Offering rotational capability in two axes and linear capability in one axis, the RoundAbout™ cable guide enables 2D and 3D dynamic tracking capability that previously has not been available. The product installs in minutes and provides millions of cycles of use.

The RoundAbout™ cable guide is a simple yet elegantly-designed cable-directing device that allows SpaceAge Control cable-actuated position transducers to follow motion dynamically in 3D space. The product uses two precision-positioned pulleys to provide two dimensions of the tracking capability. The third dimension of tracking capability is provided by a bearing-mount housing incorporating a cable-actuated rotation mechanism (a cable interface surface). The product eliminates the need for specific pulleys to be mounted to provide 2D and 3D motion tracking and gives dynamic tracking capability. The product eliminates requirements for flexible mounting bases or re-location of the position transducer.

The cable guide’s versatility derives from its ability to track one dimension of motion in 3D space. Designers and test engineers can exploit the unique flexibility of this RoundAbout™ feature when introducing displacement measurement sensors in their applications, or in designing new applications based on the feature. For example, three or four RoundAbout™-equipped position transducers can be used to create a local, medium-accuracy coordinate measurement machine. The product functionality can be viewed in this animated GIF file.

Similar designs do not allow for dynamic motion nor for full 3D range of motion, a limitation induced in most cases by the use of a single pulley. Some similar designs rely on the cable moving over non-rotating surfaces resulting in friction and wear that reduce the unit's lifetime and accuracy. The RoundAbout™ cable guide incorporates a 2nd pulley, a housing mounted on a precision bearing, and a cable-interface curve on the housing the rotates the housing dynamically to the correct orientation. These design attributes give the product unsurpassed flexibility to track 3D motion with cable-type actuation.

To learn more about the product, view the RoundAbout™ cable guide data sheet. The RoundAbout™ cable guide is offered on the Series 160/161/162 and Series 6 product lines.

Designed initially for draw wire type transducers, the RoundAbout™ cable guide concept can be applied to any wire rope, cable, and similar applications such as winches, aircraft control cables, and rigging apparatus. The cable guide can be used on new and retrofit draw wire transducer applications as well as an independent accessory. The miniature-sized cable guide can also be used to provide ease-of-mounting for box-style and low-mounting-flexibility position transducers.

A complete data sheet is available at https://spaceagecontrol.com/s021s.htm.

The RoundAbout™ cable guide is the latest in a series of SpaceAge Control draw wire transducer innovations since 1968 including:

  • Miniature and subminiature position transducer for demanding, space-constrained applications
  • AccuTrak™ grooved drum for enhanced repeatability
  • DirectConnect™ sensor-to-drum technology giving zero backlash, no torsion springs, and no clutches
  • Patented Universal Base offering 2-axis rotation capability

SpaceAge Control designs and manufactures miniature position transducers (displacement sensors) and air data products used in a broad array of demanding applications ranging from medical devices to factory automation equipment to manned space vehicles. The ISO 9001-compliant company was started in 1968 and is located in Palmdale, California USA.

# # #

High-Resolution Image

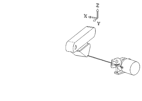
A typical RoundAboutTM cable application.

A typical RoundAbout™ cable guide application.

Editorial Contact

   Tom Anderson, Application Development Manager
   SpaceAge Control, Inc.
   38850 20th Street East
   Palmdale, CA 93550 USA
   661-273-3000 Ext. 102, 661-273-4240 (fax)
   email@spaceagecontrol.com


Position Measurement Newsletter Privacy Policy

SpaceAge Control, Inc.
An ISO9001:2000/AS9100B-Compliant Company
38850 20th Street East • Palmdale, CA 93550 USA
661-273-3000 • Fax: 661-273-4240 • email@spaceagecontrol.com
Business hours: Mon-Thu, 06:30 to 17:00 (Pacific time)
PrivacyConditions of UseComments and Questions
All specifications subject to change without notice.
© 1996-2026 SpaceAge Control, Inc. All rights reserved.
After Hours Help: 661-273-3000 Ext. 100 (for hours outside of Mon-Thu, 06:30 to 17:00 (Pacific time))

top Newsletter   •   News   •   Representatives   •   Request Literature   •   CAD Models   •   Calculators   •   Print   •   PDF top